华阳制冷网
   
发布供求信息 | 发布产品展示 | 注册普通会员 | 注册商务会员 | 制冷空调英语词汇 | 发布展会信息
您的当前位置:中华制冷网 >> 产品展示 >> 产品信息
大连BR25双面玻璃板液面计,液氨及氟利昂系统广泛使用
  大连华阳电子有限公司
 联系电话:   13998649648
 传真:  
 电子邮件:   info@daleng.com.cn
 网址:   http://www.daleng.com.cn
其它图片
 
       

产品简介
 
 产品编号:   BR25
 规格/参数:  
 生产厂商:   大连
 产品商标:  
 产品产地:   大连
 参考价格:   ¥
 发布时间:   2018年1月11日

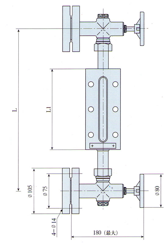
●用途及适用范围 
    BR25-I型玻璃板液面计是反射式玻璃板液面计,用以指示容器内液面位置。它用碳钢制成适用于无腐蚀介质,密封处所用的垫片均为橡胶石棉板,当制冷剂为氟利昂介质时,应采用耐油橡胶石棉板。 
    玻璃板液面计上下两端均装有针形阀,按两端针形阀中心距分,本系列共有400、500、800、1000、1100、1400、1700等多种规格产品。 
    玻璃板液面计上下均装有针形阀门,阀腔内装有钢球,当玻璃板破坏时,钢球由于容器内外之压差作用,自动关闭阀门,以防容器内液体外流,起到安全保护作用。 
    针形阀阀体上设有法兰,与容器接管法兰连接,使液面计与容器连通,透过玻璃板直接指示容器内的液位。 
    上下针形阀上均设有螺塞,上部螺塞可供放气之用,下部螺塞可供取样、排污、清洁之用。 

●设计压力与试验压力 
    试验压力:水压试验:3.75MPa 
              气密试验:2.5MPa 
    设计压力:2.5MPa

产品详细信息
 
关于我们 - 网站登录 - 友情链接 - 新手指南 - 联系我们
华阳制冷网  版权所有  ©